Recenze
Podívejte se, jak nás hodnotí Prohlédnout recenze
hledat účet košík

Automatické hodinky

Automatické hodinky jsou mechanické hodinky doplněné samonatahovacím mechanismem, který zajišťuje natahování pera v hodinkách bez nutnosti nátahu ručního. Těmto hodinkám se též říká automaty nebo hodinky samonatahovací. Pohybem ruky se na strojku roztáčí rotor (jakési vahadlo, které je uloženo většinou centrálně na strojku hodinek), který pomocí soukolí zpřevodovaného do pomala natahuje pero. Až do roku 1923 se všechny hodinky natahovaly ručně - korunkou. A právě v tomto roce pokládá první základ pro automaty angličan John Harword. A roku 1930 si nechává patentovat systém automatického nátahu firma Rolex - a tento systém je využíván dodnes. Další ikonou automatického nátahu je značka Eterna - ta první ukládá rotor do kuličkového ložiska, čímž je docíleno podstatně více otáček rotoru a tím snadnějšího dotahování pera. Díky tomu má pero stálejší výdej tlakové energie do soukolí a hodinky chodí rovnoměrněji - přesněji.

A jak vlastně podrobně pracují takové automatické hodinky? Nad vrchní základnou strojku je umístěn rotor, do kterého je upevněn pastorek. Tento pastorek se roztáčí současně s rotorem a uvádí do pohybu soukolí samonátahu. A toto soukolí je zakončeno perovníkem s perem a západkovým mechanismem. Výsledkem práce celého mechanismu (pohybem hodinek, resp. pohybem ruky) je navinutí vnitřního závěsu pera na hřídel perovníku (zkráceně řečeno "nátah pera"). Vnější závěs pera poté svým rozvinem roztáčí perovník, který pohání soukolí hodinkového mechanismu zakončené krokovým ústrojím ("tikot hodinek"). Hodinky s automatickým nátahem je dobré stále nosit na ruce pro rovnoměrný tah pera do soukolí - tím se zajistí slušná přesnost hodinek a maximální délka chodu hodinek po odložení v klidu. Čím více je totiž pero v plně nataženém stavu, tím má stabilnější plný tlak do soukolí a tím přesněji hodinky se samonátahem chodí. Některé hodinářské firmy již vkládají do strojků perovníky dva - tlak do jicího soukolí je tímto ještě vyrovnanější a k tomu je delší rezerva chodu strojku. Obavy o poškození pera jsou zbytečné - pero je opatřeno kluznou spojkou (viz. obrázek níže v obrázkové sekci s názvem Kluzná uzda perovníku), která zabrání přetažení pera a přitom pero dokáže pohánět stroj dle rezervy chodu daného stroje v průměru od 38 do 48 hodin (dnes máme už i značky se strojky vlastní výroby disponující rezervou chodu až 168 hodin).

ETA 2892

Švýcarský automatický strojek ETA 2892
s logem Hamilton na rotoru

Tato kluzná spojka pracuje tak, že: konec pera je zavěšen do háčku kluzné uzdy. Kluzná uzda je vyrobena z ocelového pásku silnějšího než samotná hnací pružina. Kluzná uzda se ukládá do bubínku perovníku a svou pružností tlačí na vnitřní stěnu bubínku. Tak je dosaženo potřebného tření potřebného k přenosu hnací energie do soukolí. Vnější konec pera je zavěšen na háčku kluzné uzdy, která při plném natažení pera v perovníku proklouzne a tím uvolní maximální napětí pera. Tento "prokluz" skončí, jakmile tření kluzné uzdy na vnitřním obvodu bubínku perovníku je takové, že se kluzná uzda díky svému tření zastaví. Pohyb kluzné uzdě dává síla nataženého pera, které ve fázi plného natažení překonává tření kluzné uzdy, které je mezi vnitřní stranou perovníku a kluznou uzdou samotnou. Kluzná uzda se usazuje ve fázi, kdy rozvin pera již nedokáže překonat tření mezi kluznou uzdou a vnitřní stranou perovníku. Na vnitřní straně perovníku jsou čtyři pravidelné žlábky (viz. obrázek), které slouží k tomu, že se závěs kluzné uzdy zastaví v jednom ze žlábků právě při uvolnění napětí prokluzem. Kluznou uzdou je dosaženo dvou efektů - vyloučení výrazně vyššího tahu pera v prvním stupní natažení (funkce vratné západky u natahovacího kola nad perovníkem) a zároveň zabránění prasknutí pera dotahováním samonátahem (více sekce Hnací pružina-pero).

Nákres automatu

Nákres automatu - čárka uprostřed ukazuje
na péro v pérovníku

Lepší hodinky se samonátahem mají na číselníku funkci ukazatele rezervy chodu - natažení pera. Většinou je zde výseč, na které je stupnice v hodinách či jiným čitelným způsobem (např. barevně - viz. obrázeky níže) natištěné znázorněné pole, na kterém je ručičkou ukazatele nátahu ukazována rezerva chodu.

Automatické strojky potřebují údržbu a ta je přímo závislá na tom, jak jsou hodinky utěsněné (vodotěsné). Obvykle je údržba prováděna v rozmezí od 5 - 8 let. Po zakoupení nových hodinek s automatickým nátahem je potřeba nechat hodinky "zajít" cca. 2 měsíce. V tento čas není důležitá diference vteřin, jelikož hodinky po zajití a usazení mohou vykazovat mnohem větší přesnost než hodinky nové nenošené. Po těchto dvou měsících se čas ustálý nebo se strojek doreguluje na maximální možnou přesnost. Některé luxusní hodinářské značky vyžadují ihned po prodeji hodinek strojek rozdělat a namazat novým olejem. Je to proto, protože než si hodinky zákazník koupí, tak většinou nejdou - po nějaký čas byly skladem u výrobce a poté vystaveny na prodejně. Hodinkám vůbec nevadí, když nejdou, ale pro olej samotný v ložiskách je lepší, když je v pohybu, když hodinky jdou. Může se tedy stát (i když velmi zřídka), že když si koupí zákazník automatické hodinky, nemusí stačit denní nátah, který stačil dřívě v pohodě - není to v žádném případě závada hodinek, ale je to právě ve většině případech právě známka potřebné výměny oleje v ložiskách a v krokovém mechanismu. Výdrž oleje a jeho viskozity ve jdoucích hodinkách je právě oněch 5 - 8 let. Jak zmíněno výše, hodinkám s automatickým nátahem nevadí, když se na pár dní odloží a nechají se vyjít úplně (např. pojedete na chatu, kde se bude pracovat manuálně a vezmete si tedy na víkend hodinky "pracovní"). Naopak, "odpočine" si pero a olejům v ložikách to po takto krátký čas nijak nevadí. Až pokud by hodinky stály delší dobu (v řádu několika týdnů až měsíců), mohou oleje měnit své vlastnosti rychleji než v aktivním stavu soukolí. Pak je lepší si pořídit natahovač a hodinky ukládat do natahovače - tam se hodinky několikrát denně otáčí, tím se pero natahuje a hodinky jdou.

Schéma mechanického automatu

Schéma mechanického automatu:
1. Perovník s jicím perem
2. Jicí soukolí
3. Krokové kolo a kotva
4. Setrvačka a vlásek
5. Rotor samonátahu
5a. Ruční nátah korunkou
6. Ručkové soukolí a ručičky

Většina náramkových hodinek se samonátahem se dají natahovat ručně korunkou. Strojek je opatřen odlučovačem samonátahu, kdy se odvalivou silou přesuvného kola dostává toto kolo mimo záběr a zase zpět do záběru s natahovacím ústrojím. Tímto způsobem se vůbec nezatíží natahování hodinek samonátahem (viz. obrázek Odlučovač samonátahu).

Ukazatel rezervy chodu

Ukazatel rezervy chodu je důmyslný praktický mechanismus

Hodinky se samonátahem jsou dnes žádané zboží, protože zákazník nosí na ruce několikasetletou tradici vývoje hodinkových mechanismů, které jsou dnes na základě úžasných inovací již opravdu velmi přesné. Hodinky se samonátahem mají v sobě mnohaletou tradici hodinářského umění, chytrosti a důvtipu děděnou a zdokonalovanou inovacemi pro krásu a přesnost hodinkových strojků - potažmo kompletních hodinek.

Audemars Piguet

Ukazatel rezervy chodu značky Audemars Piguet

Kluzná uzda

Kluzná uzda v perovníku automatických hodinek

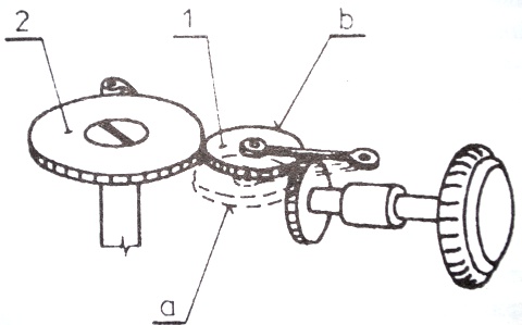
Odlučovač samonátahu

Odlučovač samonátahu - přesuvné natahovací kolo 1. je umístěno na výkyvném můstku. Při natahování hnací pružiny samonátahem jde energie z kola samonátahu č.2. Tlakem tohoto kola do ozubení středového natahovacího kola 1. se páka i s přesuvným kolem č.1 odkolopí do polohy a., čímž se dostává kolo č. 2. mimo záběr přesuvného kola č.1., čili mimo záběr natahovacího soukolí korunky. Při ručním nátahu se odvalivou silou přesuvné kolo č.1. posune na výkyvném můstku zpět do polohy b., čímž se zasune mezi soukolí natahovací korunky a soukolí samonátahu a je možno hodinky natahovat rukou. Toto je nejběžnější způsob odlučovače samonátahu.

Zobrazit kategorie Skrýt kategorie

provozovna

PROVOZOVNA